• <uefhm class="rawcbga"></uefhm>
  • 青青草在线播放,WWW青青草下载,青青草原APP下载,青青草污污污APP下载

    微信谘詢

    400-888-5135

    3nh@3nh.com

    產品中心
    • NH多功能測試組件

    NH多功能測試組件

    配件
    多功能測試組件功能強大,靈敏度高,測量液體試劑、醬狀物、粉末狀目標物的優選配件。
    產品詳情

    NH多功能測試組件使用說明

    使用範圍:可用於測試液體試劑、醬狀物(如番茄醬、塗料)、粉末(如咖啡)等。

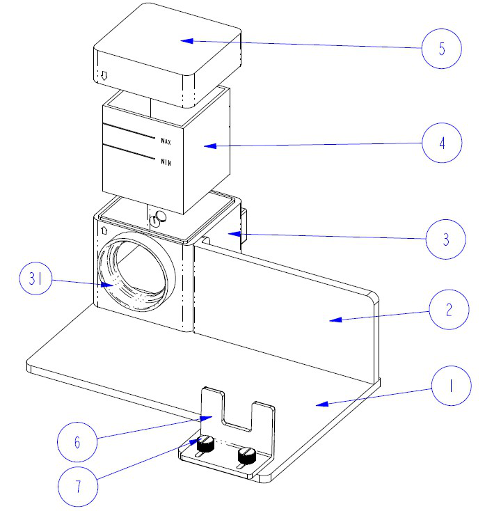
    一、 組件結構

    如圖1中所示,多功能測試組件的結構如下:

    (1)基座、(2)基座擋板、(3)方形積分器、(31)方形積分器測量口、(4)比色皿、(5)蓋板、(6)推板、(7)螺絲。
    多功能測試組件結構

    圖1  多功能測試組件結構

    二、使用方法

    如圖2,3多功能測試組件的使用方法如下:

    1、將NH310青青草在线播放按照如圖2放置好,其中,NH310的測量端口要與(31)方形積分器測量口對接好,如圖3所示,然後將(6)推板頂住NH310青青草在线播放,擰緊7螺絲,檢查NH310青青草在线播放是否鬆動,如果鬆動,請務必再次擰緊(7)螺絲。

    2、將(4)比色皿,裝入(3)方形積分器。(4)比色皿有兩個磨砂麵,拿(4)比色皿的時候請隻接觸這兩個磨砂麵;另外,有兩個透明麵,上麵刻有“MAX”、“MIN”字樣,請將其中一麵對著31方形積分器測量口,如圖2所示;

    3、將(4)比色皿裝入(3)方形積分器後,蓋上(5)蓋板,(5)蓋板上有一個箭頭圖標,(3)方形積分器上有一個相同的箭頭圖標,請確保兩個箭頭圖標位置一致,如圖3所示。
    完成以上步驟後,即可啟動NH310青青草在线播放進行測量。
     
    NH310青青草在线播放與多功能測試組件的配合

    圖2 NH310青青草在线播放與多功能測試組件的配合
      NH310青青草在线播放與多功能測試組件的配合

    圖3  NH310青青草在线播放與多功能測試組件的配合

    三、注意事項

    1、保持(3)方形積分器中的整潔,防止弄髒;多功能測試組件使用完畢後,把(5)蓋板蓋上,保持3方形積分器封閉;

    2、防止(4)比色皿兩個透明麵刮傷、弄髒,使用前、後均保持(4)比色皿內、外麵清潔。

    3、裝入(4)比色皿的待測物品的量務必在“MAX”和“MIN”的劃線之間。

     

     

    多功能測試組件實拍

    多功能測試組件實拍

    在線客服
    聯係方式
    • 400-888-5135
    • 3nh@3nh.com
    網站地圖